特性
- 无混叠:固有的抗混叠抑制高性能模式102.5dB(典型值)
- 出色的交流和直流性能
- 在ODR=374kSPS、FIR滤波器时的动态范围为108dB(典型值)
- 在ODR=10SPS、sinc3滤波器时的动态范围为137dB(典型值)
- THD: -120dB(典型值,1kHz输入音调)
- 失调误差漂移:0.9µV/°C(典型值)
- 增益漂移:2ppm/°C(典型值)
- INL:±2ppm FSR(典型值)
- 动态范围增强:4:1和2:1平均模式
- 126dB,A加权动态范围
- 电阻ADC和基准输入
- 易于同步:异步采样率转换器
- 通过一条信号线实现多器件同步
- 可编程数据速率:0.01kSPS至1496kSPS,分辨率为0.01SPS
- 可选择通过外部信号控制输出数据速率
- 线性相位数字滤波器选项
- 低纹波FIR滤波器:32µdB通带纹波,直流至161.942kHz
- 低延迟sinc3滤波器和sinc6滤波器,直流至391.5kHz
- Sinc3滤波器,50Hz/60Hz抑制
- 130.7dBFS串扰
- 菊花链
- 数据和SPI上CRC错误校验
- 两种功率模式 -高性能模式和低功耗模式
- 4.5V至5.5V和1.65V至1.95V电源
- 1.8V IOVDD电平
- 4.096V或5V外部基准
- 48MHz晶体或外部CMOS时钟
- SPI或引脚(独立)可配置操作
- 工作温度范围:-40°C至+105°C
- 采用8mm × 8mm、56引脚LFCSP封装,带裸露焊盘
应用
- 电气测试和测量
- 音频测试
- 三相电源质量分析
- 环路验证中的控制和硬件
- 声纳
- 状态监测,用于预测性维护
- 声学和材料科学研发
视频
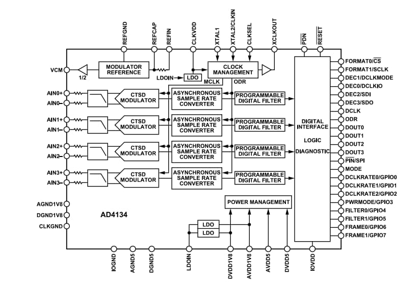
框图
发布日期: 2021-12-27
| 更新日期: 2025-07-31

