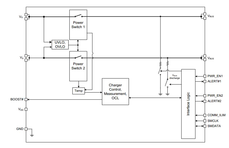
Microchip UPS2113-C USB双端口电源开关和电流监控器非常适合用于独立和具有SMBus/I2C通信功能的应用。对于SMBus应用,UPS2113-C提供每端口电流监控和每开关三个可编程电流限制(3.5A至5.2A)。另外,还提供每端口充电配给,范围为3.8mAh至246.3Ah。UPS2113-C在独立模式下支持两个开关的三种电流限制,工作电流范围为3.5A + 3.5A至5.2A + 5.2A。两个电源开关均具有独立的VBUS放电功能。
UPS2113-C双端口电源开关和电流监控器采用4x4mm 20引脚QFN封装。
特性
- 双端口电源开关:
- 电源电压范围:2.9V至5.5V
- 每VBUS端口3A连续电流,每个开关的导通电阻为40mΩ
- 独立端口电源开关使能引脚
- DUAL故障ALERT#有源漏极输出引脚
- 跳闸模式电流限制行为
- 欠压和过压闭锁
- 反向驱动、反向电压保护
- 自动恢复故障处理,测试电流低
- BOOST#逻辑输出,在大负载条件下增加直流-直流转换器输出
- SMBus 2.0/I2C模式特性:
- 三个可编程电流限制,可分配给每个电源开关
- 可根据要求提供其他SMBus地址
- 块读取和块写入
- 独立电流监控(无需外部检测电阻器)
- 完全可编程的每端口充电合配给和行为
- 自动VBUS放电功能
- 宽工作温度范围:-40°C至+105°C
- 通过汽车AEC-Q100可靠性测试
框图
发布日期: 2021-02-09
| 更新日期: 2022-03-11

