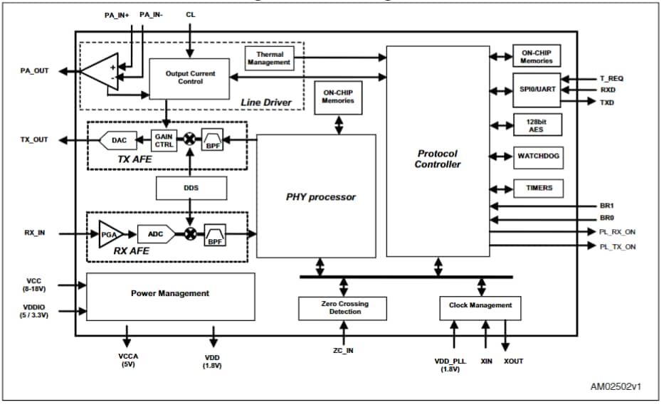
特性
- 完全集成的窄带电源线网络片上系统
- 高性能PHY处理器,具有嵌入式交钥匙固件,包括:
- B-FSK调制高达9.6kbps
- B-PSK、Q-PSK、8-PSK调制高达28.8kbps
- 双通道工作模式
- 卷积纠错编码
- 信噪比估算
- B-PSK具有PNA模式,应对脉冲噪声
- 协议引擎,嵌入交钥匙通信协议:
- 框架服务
- 错误检测
- 监听器功能
- 主机控制器UART接口,高达57.6kbps
- AES-128验证和保密服务
- 适合用于符合EN50065、FCC第15部分和ARIB标准的应用。
- 通信载波频率可编程高达250kHz
- VFQFPN48裸露焊盘封装
- 工作温度范围:-40°C至105°C
应用
- 智能计量
- 街道照明控制
- 命令和控制网络
ST7580尺寸
发布日期: 2018-11-29
| 更新日期: 2023-02-24

