TI PCI2050B桥接器符合PCI本地总线规范,用于通过创建分层总线来克服每PCI总线10个器件和每个扩展插槽1个PCI器件的电气负载限制。PCI2050B提供两级内部仲裁,用于多达九个二次总线主器件,可以通过外部二次总线仲裁器实施。
CompactPCI™热插拔扩展PCI功能使PCI2050B桥接器成为多功能紧凑型PCI卡和调整单功能卡以满足热插拔要求的理想解决方案。
特性
- 两条32位66MHz PCI总线
- 3.3V内核逻辑,带通用PCI接口,兼容3.3V和5V PCI信号环境
- 内部两级仲裁,用于多达九个二次总线主器件,并支持外部二次总线仲裁器
- 十个二次PCI时钟输出
- 各方向的独立读写缓冲器
- 采用流水线架构的突发数据传输,可最大限度地提高两个方向的数据吞吐量
- 支持写入组合,以提高数据吞吐量
- 支持从一条总线到另一条总线仅四个PCI时钟的帧到帧延迟
- 两个方向最多三个延迟交易
- 总线锁定传播
- 可预测延迟,符合PCI本地总线规范
- 架构可配置为PCI总线电源管理接口规范
- CompactPCI热插拔功能
- 二次总线在复位时驱动为低电平
- VGA/调色板内存和I/O解码选项
- 先进的亚微米、低功耗CMOS技术
- 208端子PDV、208端子PPM或257端子MicroStar BGA™封装
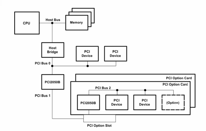
框图
发布日期: 2021-02-03
| 更新日期: 2022-03-11

