Texas Instruments TAS3251超高清数字输入D类放大器
Texas Instruments TAS3251超高清数字输入D类放大器具有高性能,能够提供真正出众的声音品质,实现D类音效。大功率单芯片解决方案,可降低系统解决方案的整体尺寸和成本。TAS3251可在AD模式下运行,最高可以驱动2×175W(4Ω负载)和2x220W(3Ω负载)。该数字前端采用高性能Burr-Brown™ DAC并集成DSP,非常适合高级音频处理,包括SmartAmp和SmartEQ。DSP由TIPurePath™控制台图形调节软件提供支持,可以快速轻松地调节和控制扬声器。D类功率级具有高级集成反馈和专有高速栅极驱动器错误校正功能。该特性可在各类声频带内实现超低失真和噪声。特性
- 灵活音频输入
- I2S、TDM、左对齐、右对齐
- 32kHz、44.1kHz、48kHz、96kHz
- 支持3线式数字输入(无需MCLK)
- 10% THD+N时的总输出功率
- 在4Ω负载下的BTL配置中,立体声功率为175W
- 在3Ω负载下的BTL配置中,立体声功率为220W
- 在2Ω负载下的PBTL配置中,单声道功率为350W
- 1% THD+N时的总输出功率:
- 在4Ω负载下的BTL配置中,立体声功率为140W
- 在3Ω负载下的BTL配置中,立体声功率为175W
- 在2Ω负载下的PBTL配置中,单声道功率为285W
- 高级集成闭环设计
- 1W情况下输入4Ω时,THD+N超低,为0.01%
- <0.01% THD+N,限幅
- 60dB PSRR(BTL,无输入信号)
- <95µV输出噪声(A加权)
- >108dB SNR(A加权)
- 固定函数处理功能
- SmartEQ (15x BiQuad)
- Crossover EQ (2x5 BiQuad)
- 3波段高级DRC + AGL
- 动态EQ和SmartBass
- 采样率转换
- 控制特性
- I2C软件模式控制
- 地址选择引脚
- 90%高效D类音效工作 (4Ω)
- 12V-36V宽电源电压运行
- 集成保护,具有错误报告功能:欠压、逐周期电流限制、短路、限幅检测、过热警告和关断以及直流
- 扬声器保护
应用
- 蓝牙和WiFi扬声器
- 条形音箱
- 低音炮
- 书架立体声音响系统
- 专业和公共广播 (PA) 扬声器
- 有源交叉和双向扬声器
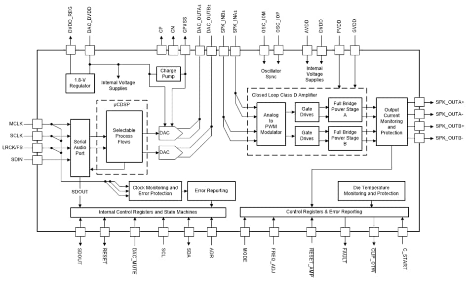
框图
发布日期: 2018-08-03
| 更新日期: 2023-02-03
