Texas Instruments MSP430L092 复合信号 MCU

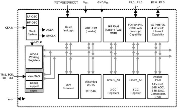
Texas Instruments MSP430L092 是一款MSP430 复合信号微控制器配置有 2 个 16 位计时器、1 个超低压 8 位 模数转换器 (ADC)、1 个超低压数模转换器以及 11 个 I/O 引脚。 TI MSP430L092 MCU 是第一款校准的 0.9V MCU,为开发者提供了更大灵活性和可配置的模拟集成。 TI MSP430L092 对于需要完整模拟信号链的单格系统(单电池系统)是非常理想的。 TI MSP430超低功率微控制器系列包含了一些设备,该等设备拥有针对广泛应用的不同外围设备集合。 其架构结合了 5 种低功率模式,经优化能够延长便携式测量设备中的电池寿命。 TI MSP430L092 MCU拥有强大的 16 位 RISC CPU、16 位 寄存器和促成代码效率最大化的恒定发生器。 数控内部振荡器能在 5µs 内从低功率模式唤醒至运行模式。

特点
  • 超低电源电压 (ULV) 范围:0.9 V - 1.5 V (1 MHz),1.5 V - 1.65 V (4 MHz)
  • 低功耗:运行模式 (AM):45 µA/MHz (1.3 V),待机模式 (LPM3,WDT_A 模式):6 µA,关闭模式 (LPM4):3 µA
  • 在 5 µs 内从 LPMx 唤醒
  • 16 位 RISC 构架:扩展的指令,高达 4-MHz 的系统时钟
  • 紧凑型时钟系统:1-MHz 内置可调式高频时钟,20-kHz 内置低频时钟源,外部时钟输入
  • 16 位计时器0_A3,包含三个采集/比对寄存器
  • 16 位计时器1_A3,包含三个采集/比对寄存器
  • ULV 模拟池模式:8 位模数转换器 (ADC),8 位数模转换器 (DAC)
应用
  • 需要完整模拟信号链的单电池系统
  • 便携式测量应用
视频平台视频管理视频解决方案视频播放器
功能图
  • Texas Instruments
  • Semiconductors|IC-MCU/MPU|Integrated Circuits
发布日期: 2011-01-31 | 更新日期: 2025-04-16